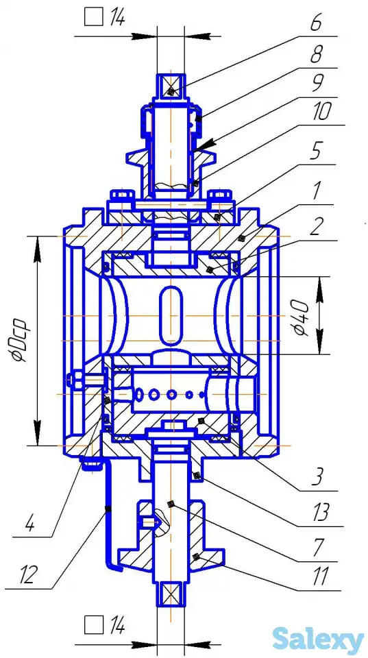
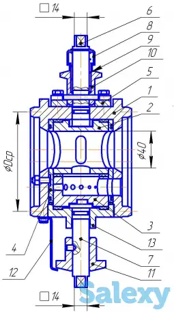
Штуцер дискретный фланцевый ШДФ-10МК3

 
Штуцер дискретный фланцевый ШДФ-10МК3

Штуцер дискретный фланцевый ШДФ-10МК3-136,5-2/40-80-35
Диаметр проходного отверстия фланца 80мм. Максимальное рабочее давление среды 35Мпа. Исполнение по среднему диаметру уплотняющего выступа на корпусе Dср 136,5 мм. Условный размер проходного отверстия 2; 3; 4; 5; 6; 8; 10; 12; 14; 18; 40мм. Управление штуцером ручное. Регулируемый орган – два цилиндра. Рабочая температура окружающей среды от -60°С до +40°С. Габаритные размеры, без учёта выводов для манометров, 345х162х110 мм. Масса 14,03 кг.

Атырау

Авторизация

Похожие объявления

  • Штуцеры дискретные регулируемые фланцевые ШДР-9М, ШДФ-9М, ШДФ-10М, ШРФ-20, ШРФ-40 предназначены для вывода нефтяной скважины на рабочий режим без ее остановки при добыче нефти глубинными штанговыми
  • Занимаемся производством и продажей нефтепромыслового оборудования. Наименование Ед. изм. Кол-во Цена руб. с ндс Камера грязевая другие наименования: Кожух грязевый, Юбка противосифонная, юбка
  • 15 000 тг.
    Задвижки ASME Class 150, 300, 600, 800, 900, 1500, 2500 GATE VALVE API600 API6D API602, Материал корпуса A216, A105, CF8, SS316. Ручное управление, редукторный привод, электропривод
  • 15 000 тг.
    Краны шаровые ball valves, ASME, API, Материал корпуса A216, A105, CF8, SS316. Материал шара нерж сталь. Ручное управление, редукторный привод, электропривод. пневматический привод NPS 34 - 20.
  • 15 000 тг.
    Запорные клапаны высокого давления. Материал - углеродистая сталь, нержавеющая сталь, легированная сталь Dn10, 15, 20, 25, 32, 40, 50, 65 мм Pn100бар, 160 бар, 250 бар, 320 бар, 350 бар